詳細介紹
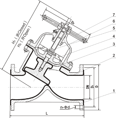
| 產品特點 設計與制造:GB122239 結構長度:GB12221、JB1688 法蘭連接尺寸:GB4216、JB78 G45J直流式襯膠隔膜閥,直流式隔膜閥,襯膠隔膜閥 產品用途 本閥專用于控制非腐蝕性或一般腐蝕性介質,閥體內腔表面無襯里或覆有可供選擇的各種橡膠,適用于不同工作溫度和流體管路。 適用溫度:≤85℃、≤100℃、 ≤120℃(按照襯里和隔膜材料) 壓力等級:PN0.6、1.0、1.6 產品材料閥體:鑄鐵、球墨鑄鐵、碳鋼、不銹鋼閥蓋:鑄鐵、球墨鑄鐵、碳鋼、不銹鋼 襯里:無襯里、橡膠 隔膜:橡膠 閥瓣:鑄鐵、碳鋼 閥桿:碳鋼、不銹鋼手輪:鑄鐵 產品測試襯里層:電火花檢測試驗與檢驗按GB/T13297標準 公稱壓力:PN(Mpa) 閥體:PN×1.5 密封:PN×1.1 結構特點隔膜閥是一種特殊形式的截止閥;1、彈性密封的開閉件,確保沒有內漏; 2、流線型的流道,使得壓力損失小; 3、沒有填料函,因此沒有外漏; 4、閥體與蓋被中間隔膜隔開,使得隔膜上方的閥蓋,閥桿零件不受介質侵蝕; 5、隔膜可更換,維護費用低; 6、襯里材料的多樣性,可適用于各種介質,并具有良好的耐腐蝕性。 襯膠直流式隔膜閥主要尺寸及重量
產品結構![]() |
溫馨提示:“G45J直流式襯膠隔膜閥”所有文字、數據、圖片均只適用于參考。
如需與實物相吻合的性能參數、結構尺寸參數等詳情請來電來函索取。
電話:021-68103333 傳真:021-51686322
如需與實物相吻合的性能參數、結構尺寸參數等詳情請來電來函索取。
電話:021-68103333 傳真:021-51686322

軟密封蝶閥視頻介紹




掃一掃關注我們